售 后 电 话:400-857-0007
商 务 合 作:16638327819
公 司 地 址:河南省安阳市滑县新区湘江路与白马路交汇处东南角1号
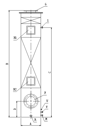
环氧乙烷气体净化吸收装置是引进国外的先进技术自主研发出来的新一代气体净化吸收处理设备。QC型系列净化吸收塔,具有阻力小、能耗省、噪音低、处理效率高,能有效去除环氧乙烷(C2H4O)气 体,净化后的废气达到国家排放标准。有玻璃纤维增强塑料(玻璃钢),不锈钢和热塑性塑料等不同的材料。QCS系列逆流填料净化吸收塔是设计用来净化吸收含有EO污染物或组合气流气体和液体微粒。所有净化吸收塔,都可 以实现最大的耐腐蚀性和高收集效率,最大减少运转费用。
GB3095-1996《环境空气质量标准》
GB16297-1996《大气污染物综合排放标准》
GB/T5226.1-1996《工业机械电器设备通用技术条件》
GB50058-92《爆炸和火灾危险场所电力装置设计规范》
环氧乙烷气体净化吸收装置包含设备本体及自控系统。
1、设备本身包含有填料净化吸收塔、循环喷淋管路、集水箱、储水罐、汽水分离器等,实现环氧乙烷气体的有效吸收,达到排放标准。
2、全自动控制系统可实现:自动循环净化、自动补液、自动加酸、液体输送和自动延时功能。实时监控:初始废气浓度、净化气体排放浓度、液位、Ph值等,一旦净化气体排放超标,即刻自动声光报警。
环氧乙烷气体经汽水分离器后进入集水箱,经均布器后进行初级喷雾净化后进入填料净化吸收塔,在风机的动力作用下,迅速充满进气段的空间,然后通过均布网上升到填料吸收段与喷淋系统喷出的吸收液反应吸收。最 后经过处理的洁净空气从填料净化吸收塔上端排气管经高速防腐蚀风机排入大气。

- 上一篇:环氧乙烷水循环处理装置-滑县红太阳医疗器械
- 下一篇:没有了;
- 环氧乙烷灭菌器/柜-环氧乙烷灭菌设备生产厂家价格(全自动型)-就选滑县红太阳医疗
- 等离子灭菌器_低温等离子灭菌器(卡匣式)-滑县红太阳医疗器械
- 环氧乙烷灭菌器-低温环氧乙烷灭菌器厂家价格(全自动型)-滑县红太阳医疗器械
- 低温等离子灭菌器_过氧化氢低温等离子灭菌器(卡匣式)-滑县红太阳
- 口罩环氧乙烷灭菌器-环氧乙烷灭菌设备价格(大型)-推荐滑县红太阳医疗器械
- 环氧乙烷灭菌器厂家-河南口罩环氧乙烷低温灭菌设备生产厂家(大型参数)-滑县红太阳医疗器械
- 过氧化氢低温等离子灭菌器-大型600L-滑县红太阳医疗器械
- 环氧乙烷灭菌器_环氧乙烷灭菌器设备厂家(普通型)-选择滑县红太阳医疗
- 医用真空干燥柜(新款)
- 灭菌指示物抗力检测仪-EO环氧乙烷抗力检测仪器-滑县红太阳
- 医院用全自动清洗消毒器
- 真空干燥箱_医用真空干燥柜(箱)_医用干燥柜-咨询滑县红太阳医疗器械
- 内镜清洗工作站
- 全自动软式内镜清洗消毒机
- 真空干燥箱(柜)-滑县红太阳医疗器械
- 干热快速灭菌器
- 超声波清洗机
- 煮沸消毒器
- 触摸屏连续打印封口机-医用打印封口-滑县红太阳医疗
- 干燥箱厂家-医用低温器械干燥箱价格-优选滑县红太阳
- 医用纯水机
- 大型脉动真空灭菌器
- 按键式打印封口机-滑县红太阳医疗器械
- 超声波清洗机_超声波清洗设备_全自动超声波清洗机-选择滑县红太阳医疗器械
- 干热快速灭菌柜(箱/器)_高温灭菌设备-推荐滑县红太阳医疗器械
- 小型脉动真空灭菌器(牙科口腔 )
- 双门软镜储存柜厂家-双门储存柜参数-滑县红太阳医疗器械
- 切割封口打印一体机-滑县红太阳医疗器械
- 医用纯水机_供应室纯水机_纯水机厂家-滑县红太阳医疗器械
- 内镜清洗工作站-内镜清洗设备-内镜清洗机-滑县红太阳医疗器械
- · 医用干燥柜/箱简介和产品结构特点-滑县红太阳医疗器械
- · 医用类型的空气消毒机厂家-红太阳医疗器械
- · 技术成熟的医用干燥柜(箱)生产厂家-滑县红太阳医疗器械
- · 低温等离子灭菌器生产厂家-滑县红太阳医疗器械
- · 过氧化氢低温等离子灭菌器注意事项及禁用范围——滑县红太阳医疗器械
- · ★过氧化氢低温等离子灭菌器原理和适用范围-滑县红太阳医疗器械
- · ★环氧乙烷灭菌器/灭菌柜操作流程和灭菌温度要求了解-滑县红太阳医疗器械
- · ★脉动真空灭菌器/脉动真空灭菌柜了解-滑县红太阳医疗器械
- · ★脉动真空灭菌器结构原理图解和一般使用年限-滑县红太阳医疗器械
- · ★脉动真空灭菌器和预真空灭菌器的区别哪些-滑县红太阳医疗器械

































